墙排水or传统地排水,细节施工是关键
宜家小住手
2020-11-10
对于现在卫生间的排水系统施工有两种:传统的地排水、墙排水。关于两种排水模式哪一种最好,这一点其实不好拿来比较的。
就设计美感和空间视觉上给人的感受来说,做完墙排水之后的洗手池和马桶出来的效果确实比较时尚的。因为没有管道外露,比较有设计感,显得空间更加简洁得体,干净利落。


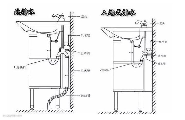
墙排:通过墙体做排水系统,将排水管隐藏于墙体内;地排:排水管直通下水道。


先说墙排水如果要做墙排水:首先要看墙体结构如果是承重墙那么需要建假墙预留管道口和检修区域。而且就是施工方面相较于地排细节多一些而且比较复杂,但是它也优化了一些地排的缺点,比如墙排水不会影响到楼下邻居,如果漏水的话只是自家会受影响,也不会出现过多排泄物下水的噪音。

缺点就是如果管道没有走好,容易堵下水。在施工时尽量直接在主排污管上接上三通,封住原有排污口;移位器会让墙排水路径更远更复杂,相对来说对排水通畅的问题会有一些影响。所以选择做墙排水的标准不仅要看墙体构造,还要看前期规划和施工师傅的手艺。

地排水是比较传统的排水方式,同样也是很考究施工工艺的,而它的缺点就是:出现漏水会波及邻居、有噪音、有卫生死角。在施工上:地排排水是通过楼层隔板的,墙排水是通过墙体直通主排水管道。

这里不是可以要说地排的不好,因为其传统所以在工艺上也就很成熟,会从根本上处理一些问题。墙排水的改造要求要比地排水大,改不好就是“水帘洞”。所以考虑做墙排水的家人们也要想清楚,最好找比较专业的师傅根据户型给出合理性建议。不要盲目走“网红”路线。
注:部分图片源于网络